autoua
×
Autoua.netФорумЕлектрика

Помогите со схемой делителя

Супер писатель! *
56 лет (32 года за рулем), Киев
Сообщения: 3441
С нами с 17.08.2005

Помогите со схемой делителя
      2 февраля 2018 в 17:11 Гілками Прикріплені файли (0 завантажити)

Что-то подзабылось мне все выученное...
Кто поможет наваять схемку на RS-триггерах для делителя, чтобы получить на выходе сигнал как на картинке? Длительность выходного импульса не обязательно привязана к длительности входного.

Что-то подзабылось мне все выученное.Кто поможет наваять схемку на RS-триггерах для делителя, чтобы получить на выходе сигнал как на картинке


Роздрукувати   Нагадати!   Сповістити модератора   Відправити по E-mail
IesuiT ***
59 лет (30 лет за рулем), Кременчуг
Сообщения: 38407
С нами с 26.10.2001

Re: Помогите со схемой делителя [Re: Palex]
      2 февраля 2018 в 18:52 Гілками

готовые счетчики есть зачем на тригерах ?

Роздрукувати   Нагадати!   Сповістити модератора   Відправити по E-mail
приверженец *****
48 лет (28 лет за рулем), Мена
Сообщения: 406
С нами с 09.09.2011

Re: Помогите со схемой делителя [Re: MadMax]
      2 февраля 2018 в 19:56 Гілками

Я на ардуино такое делал, надо было быстро и делить где-то на 100.

Роздрукувати   Нагадати!   Сповістити модератора   Відправити по E-mail
IesuiT ***
59 лет (30 лет за рулем), Кременчуг
Сообщения: 38407
С нами с 26.10.2001

Re: Помогите со схемой делителя [Re: koritskiy]
      2 февраля 2018 в 22:07 Гілками

ага .. автор указал частоту и скважность =) чтобы советовать на чем делать =)



хотябы так https://www.rlocman.ru/comp/koz/cd/cdh30.htm , ну или 1533ие

Змінено MadMax (22:08 02/02/2018)


Роздрукувати   Нагадати!   Сповістити модератора   Відправити по E-mail
Супер писатель! *
56 лет (32 года за рулем), Киев
Сообщения: 3441
С нами с 17.08.2005

Re: Помогите со схемой делителя [Re: MadMax]
      3 февраля 2018 в 11:57 Гілками

MadMax 02.02.2018 22:07 пишет:

ага .. автор указал частоту и скважность =) чтобы советовать на чем делать =)



хотябы так https://www.rlocman.ru/comp/koz/cd/cdh30.htm , ну или 1533ие



Спасибо. Но мне не совсем делитель нужен. Мне нужен на выходе импульс заданной длительности на первый и каждый 4 ( или пятый, не важно) импульс на входе.
Частота и скваженность входного сигнала не фиксированы.

Змінено Palex (12:54 03/02/2018)


Роздрукувати   Нагадати!   Сповістити модератора   Відправити по E-mail
V.I.P **
45 лет,
Сообщения: 12225
С нами с 08.06.2015

Re: Помогите со схемой делителя [Re: Palex]
      3 февраля 2018 в 13:04 Гілками

Palex 03.02.2018 11:57 пишет:

Мне нужен на выходе импульс заданной длительности на первый и каждый 4 ( или пятый, не важно) импульс на входе.
Частота и скваженность входного сигнала не фиксированы.



- так та ж схема, тільки підключити вхід DD2 на вихід "4" DD1.

Змінено VovkZ (13:05 03/02/2018)


Роздрукувати   Нагадати!   Сповістити модератора   Відправити по E-mail
IesuiT ***
59 лет (30 лет за рулем), Кременчуг
Сообщения: 38407
С нами с 26.10.2001

Re: Помогите со схемой делителя [Re: Palex]
      3 февраля 2018 в 15:10 Гілками Прикріплені файли (0 завантажити)

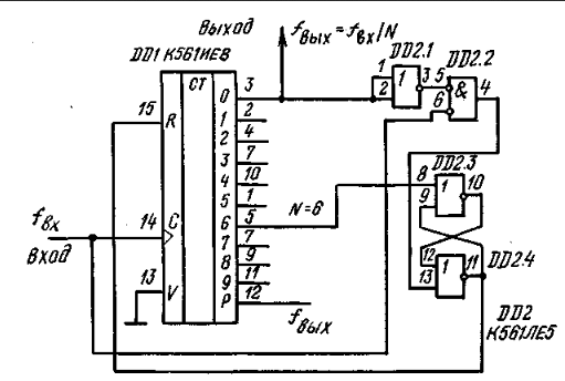
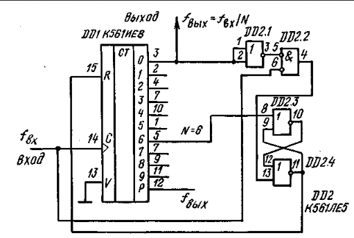
заданной или такой длительности как входящий ? тогда счетчик с дешифратором

561ие8 с укороченным циклов

заданной или такой длительности как входящий . тогда счетчик с дешифратором 561ие8 с укороченным циклов

Змінено MadMax (15:31 03/02/2018)


Роздрукувати   Нагадати!   Сповістити модератора   Відправити по E-mail
Супер писатель! *
56 лет (32 года за рулем), Киев
Сообщения: 3441
С нами с 17.08.2005

Re: Помогите со схемой делителя [Re: MadMax]
      5 февраля 2018 в 12:06 Гілками

MadMax 03.02.2018 15:10 пишет:

заданной или такой длительности как входящий ? тогда счетчик с дешифратором

561ие8 с укороченным циклов




Спасибо.
Общая идея понятна. Немного надо доработать под свою задачу, но с этим я надеюсь справиться.

Собственно - задачка нужна для блочка управления омывателем фар. Хелла почему-то в своем модуле делитель не предусмотрела.


Роздрукувати   Нагадати!   Сповістити модератора   Відправити по E-mail
IesuiT ***
59 лет (30 лет за рулем), Кременчуг
Сообщения: 38407
С нами с 26.10.2001

Re: Помогите со схемой делителя [Re: Palex]
      5 февраля 2018 в 16:47 Гілками

а чего ты хочеш добиться ? может вообще ждругое решение есть

Роздрукувати   Нагадати!   Сповістити модератора   Відправити по E-mail
Супер писатель! *
56 лет (32 года за рулем), Киев
Сообщения: 3441
С нами с 17.08.2005

Re: Помогите со схемой делителя [Re: MadMax]
      5 февраля 2018 в 18:05 Гілками

MadMax 05.02.2018 16:47 пишет:

а чего ты хочеш добиться ? может вообще ждругое решение есть



Есть несколько решений. Но мне больше всего нравится именно это. На первый и каждый пятый сигнал на мотор омывателя стёкол идёт импульс на мотор омывателя фар. Включение фар задает ноль и разрешает счёт. Сигнал датчика уровня блокирует выходной импульс.
Все это хочу собрать в корпусе родного реле Хеллы.


Роздрукувати   Нагадати!   Сповістити модератора   Відправити по E-mail
IesuiT ***
59 лет (30 лет за рулем), Кременчуг
Сообщения: 38407
С нами с 26.10.2001

Re: Помогите со схемой делителя [Re: Palex]
      5 февраля 2018 в 19:01 Гілками

хм ... прикольная мысль =)

Роздрукувати   Нагадати!   Сповістити модератора   Відправити по E-mail
приверженец *****
48 лет (28 лет за рулем), Мена
Сообщения: 406
С нами с 09.09.2011

Re: Помогите со схемой делителя [Re: MadMax]
      5 февраля 2018 в 21:13 Гілками Прикріплені файли (0 завантажити)

Я б такое собрал на ARDUINO ATTINY85 Digispark. Стоит недорого, миниатюрный, программируется с ЮСБ, входов/выходов для этой задачи хватит, логику работы можно сделать любую, даже помехи програмно можно отфильтровать.
Из обвязки понадобится разве что несколько резисторов и ключ.
На дискретной логике сейчас как-то не прикольно делать.

Я б такое собрал на ARDUINO ATTINY85 Digispark. Стоит недорого, миниатюрный, программируется с ЮСБ, входов/выходов для этой задачи хватит, логику работы можно сделать любую, даже помехи програмно можно отфильтровать


Роздрукувати   Нагадати!   Сповістити модератора   Відправити по E-mail
Супер писатель! *
56 лет (32 года за рулем), Киев
Сообщения: 3441
С нами с 17.08.2005

Re: Помогите со схемой делителя [Re: koritskiy]
      6 февраля 2018 в 07:19 Гілками

Я, наверное, мамонт, но не могу решиться делать такие вещи на МК.
Не говоря о том, что как минимум надо учить его язык, какой бы он ни был простой, почему-то я никак не могу убедить себя в их надежности. Какова вероятность, что у этого чуда ни при каких обстоятельствах не слетит микропрограмма? Потому что разбирать запаянный корпус и здирать лак для перепрошивки как-то не улыбается.


Роздрукувати   Нагадати!   Сповістити модератора   Відправити по E-mail
приверженец *****
48 лет (28 лет за рулем), Мена
Сообщения: 406
С нами с 09.09.2011

Re: Помогите со схемой делителя [Re: Palex]
      6 февраля 2018 в 17:59 Гілками

Да сейчас куда не посмотришь- микроконтроллеры ставят.

На ардуино собрал несколько устройств, притом даже не для дома, а для производства на линии. Работают уже года четыре, без сбоев.

Во всяком случае понадежнее будет 561 логики, которая боится помех и статики.

А юсб пины можно далеко не прятать, чтоб вынуть реле, дома подключил, сменил программу если надо.


Роздрукувати   Нагадати!   Сповістити модератора   Відправити по E-mail
V.I.P **
Киев
Сообщения: 18552
С нами с 10.07.2001

Re: Помогите со схемой делителя [Re: koritskiy]
      7 февраля 2018 в 10:52 Гілками

у атини все же маловато выходов получается. При той же цене почти, такое http://arduino-ua.com/prod1021-pro-mini-atmega328-328p-5v-16mh (если надо 5В) лучше будет. Я использую 3.3В уж больно много перефирии сейчас на 3.3В. Для задачи выше, имхо, лучше подойдет, особенно если еще захочеться что-то доделать.

Роздрукувати   Нагадати!   Сповістити модератора   Відправити по E-mail
Autoua.netФорумЕлектрика
Додаткова інформація
0 користувачів і 10 що побажали залишитися невідомими читають цей форум.

Модератор:  moderator 

Роздрукувати всю тему

Права
      Ви не можете створювати нові теми
      Ви не можете відповідати на повідомлення
      HTML дозволений
      UBBCode дозволений

Рейтинг:
Переглядів теми: 5199

Оціните цю тему

Перейти в

Правила конференції | Календар | FAQ | Карта розділу | Мобільна версія