autoua
×
Autoua.netФорумDaewoo форум

нужна часть электросхемы

СуперСтар ****
49 лет (26 лет за рулем), Запорожье
Сообщения: 4280
С нами с 14.10.2004

нужна часть электросхемы
      11 октября 2012 в 12:22 Гілками

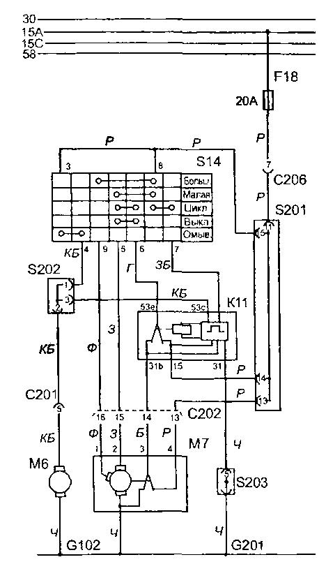
Поделитесь кусочком электросхемы Ланосо-Сенсов, где разрисованы провода, идущие на реле дворников девятиконтактное. То что имеет возможность регулировать промежуток между взмахами. Все схемы, что нашел под шестиконтактное реле.
Буду очень благодарен


Роздрукувати   Нагадати!   Сповістити модератора   Відправити по E-mail
ýíòóçèàñò ***
Бахмут
Сообщения: 984
С нами с 24.05.2004

Re: нужна часть электросхемы [Re: Mihas]
      22 октября 2012 в 14:56 Гілками Прикріплені файли (0 завантажити)

Mihas 11.10.2012 12:22 пишет:

Поделитесь кусочком электросхемы Ланосо-Сенсов, где разрисованы провода, идущие на реле дворников девятиконтактное. То что имеет возможность регулировать промежуток между взмахами. Все схемы, что нашел под шестиконтактное реле.
Буду очень благодарен




S14 - 9-ти контактный прерключатель (положение ЦИКЛ), а релюха К11- шести (вроде другого и нет)
отличие в самих кишках рельюх

S14 - 9-ти контактный прерключатель (положение ЦИКЛ), а релюха К11- шести (вроде другого и нет)отличие в самих кишках рельюх

Змінено marc (15:00 22/10/2012)


Роздрукувати   Нагадати!   Сповістити модератора   Відправити по E-mail
СуперСтар ****
49 лет (26 лет за рулем), Запорожье
Сообщения: 4280
С нами с 14.10.2004

Re: нужна часть электросхемы [Re: marc]
      22 октября 2012 в 17:26 Гілками

У меня 9-ти контактная релюха с каталожным номером 96596863, зелененькая. Его проводка не совпадает со схемой из книги.
В общем вопрос уже закрыт, купил новую, поставил, все работает.
Спасибо человеку нарисовавшему внутреннюю электросхему реле с форума Ланос.ком.уа. Попробую отремонтировать старое реле, если не сгорела микросхема внутри. А то жаба давит 90 грн за реле платить еще раз.


Роздрукувати   Нагадати!   Сповістити модератора   Відправити по E-mail
Autoua.netФорумDaewoo форум
Додаткова інформація
0 користувачів і 13 що побажали залишитися невідомими читають цей форум.

Модератор:  AVB, moderator 

Роздрукувати всю тему

Права
      Ви не можете створювати нові теми
      Ви не можете відповідати на повідомлення
      HTML дозволений
      UBBCode дозволений

Рейтинг:
Переглядів теми: 4491

Оціните цю тему

Перейти в

Правила конференції | Календар | FAQ | Карта розділу | Мобільна версія